BMW запатентовала винты с логотипом: детали дизайна и критика | Новости автопрома
Москва
8 (800) 333-21-68
×

Многоканальный по РФ
8 (800) 333‑21-68

Офис в МСК
+7 (495) 120-44-92

Email
zakaz@krepcom.ru

Интернет-магазин крепежа и
сопутствующих товаров
Пользуясь сайтом, вы соглашаетесь с использованием cookies и политикой в отношении обработки персональных данных.

BMW патентует винты с собственным логотипом: эстетика против практичности? Что думаете?

Немецкий автопроизводитель BMW подал заявку на патент, которая может изменить видение дизайна даже в мельчайших деталях. Речь идёт о крепёжных элементах - винтах, головки которых выполнены в форме знаменитого логотипа компании: круга, разделённого на четыре сектора.

Согласно документам, опубликованным ведомством по интеллектуальной собственности Германии, инновация касается как внешнего дизайна головки винта, так и специального инструмента для его закручивания. Этот инструмент будет иметь соответствующее углубление, позволяющее не только надёжно зафиксировать крепёж, но и гарантировать, что логотип встанет в строго определённое, «идеальное» положение.



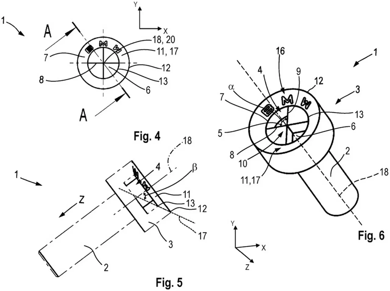
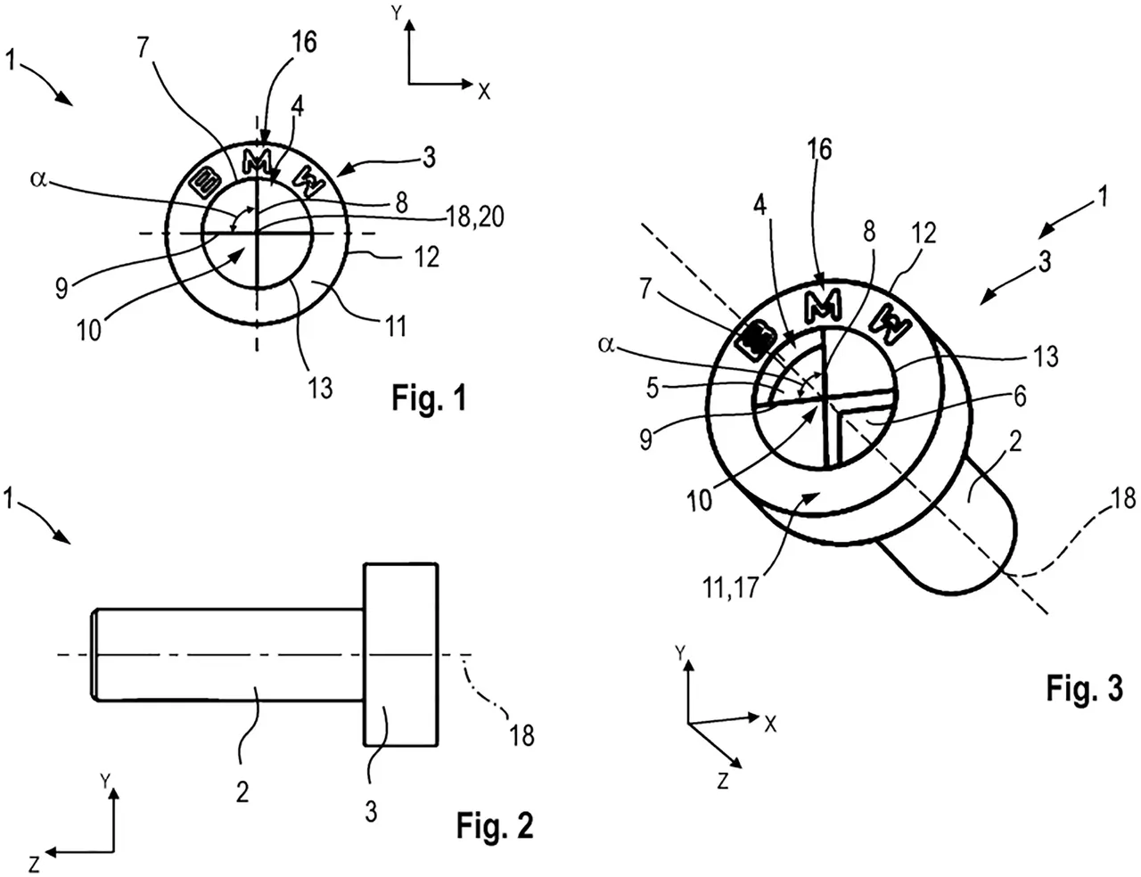
Винт с логотипом BMW - патент немецкого бренда

Схема винта с логотипом (разработка)


Винт с логотипом BMW - патент немецкого бренда

Схема винта с логотипом (разработка)

Зачем это нужно?

Основная цель, которую видят эксперты, - это бескомпромиссный подход к дизайну и брендингу. Такие винты потенциально могут использоваться в видимых местах сборки автомобиля:

  • В салоне (крепление элементов отделки, подлокотников, порогов).
  • Под капотом (декоративные крышки).
  • В колёсных дисках.
  • При креплении аксессуаров и дополнительного оборудования.

«Это логичное продолжение философии BMW, где каждая деталь, даже невидимая взгляду, должна быть совершенной, — комментирует отраслевой аналитик Маркус Шеффер. — Теперь бренд хочет, чтобы эта «идеальная» деталь стала видимой и узнаваемой. Это вопрос премиальности, внимания к мелочам и создания целостного эстетического образа».

Критика и вопросы.

Однако новость вызвала и скептические отзывы. Главные вопросы касаются:

  1. Стоимости. Специализированные крепёжные элементы и инструмент неизбежно увеличат затраты на производство и, потенциально, на обслуживание.
  2. Практичности. Автомеханики и энтузиасты отмечают, что это может создать сложности при самостоятельном ремонте или тюнинге, потребовав покупки «фирменного» инструмента.
  3. Приоритетов. Часть аудитории считает, что подобные инвестиции стоило бы направить на развитие более значимых для пользователя технологий.

Что дальше?

Подача патентной заявки не гарантирует, что такие винты в ближайшее время появятся на конвейере. Часто компании страхуют таким образом перспективные идеи. Однако сам факт её регистрации ярко демонстрирует направление мысли инженеров и дизайнеров BMW: в мире премиальных автомобилей битва за внимание клиента переходит на уровень миллиметров.

Если патент будет реализован, владельцы новых BMW получат машины, где каждая, даже самая маленькая деталь, будет безмолвно, но красноречиво говорить о принадлежности к баварскому бренду.

Новости отрасли

Можно загрузить не более 15 фото форматом jpg, jpeg или png.
Максимальный размер файла - 10 Мб.
Необходимо дать согласие на обработку персональных данных


Проведите вправо до отметки